为了防止别人恶意抢注相同、近似商标,很多企业在商标注册上“山寨”了自己。
近日,有网络消息称,大白兔为了?;ぷ约旱纳瘫?,注册了10几个近似商标:有大灰兔、大黑兔、大花兔、小白兔、金兔、银兔……。有人对此评论道,可是他们(备注:“大白兔”奶糖商标所有者上海冠生园食品有限公司)还是疏忽了小贝兔、大日兔、大臼兔、太白兔、大白免。

大白兔”奶糖商标所有者上海冠生园注册的部分防御性商标。本文图片来源:国家工商行政管理总局商标局网站
采取类似商标?;ぴし来胧┑模恢皇谴蟀淄?。
经过梳理发现,阿里巴巴、星巴克、小米、老干妈等知名公司注册了大量诸如“阿里妈妈”、“新巴克”、“大米”、“老干爹”等商标,这些商标名往往都进行了多类别的注册。
很多人会将前述商标误认为是“山寨商标”。所谓“山寨商标”,有不少是企业自己注册的防御性商标,是企业为了防止他人注册和使用。此举是企业为了避免“山寨商标”给自己的主品牌造成干扰,同时也为了避免消费者混淆主品牌。
企业纷纷注册“山寨商标”
为了避免他人恶意抢注,企业纷纷先下手为强,注册了大量防御性商标。
企业注册防御性商标,大致可分为两种情况,一是多个类别的商品申请注册同一商标,二是同一种商品或者类似商品注册相同或者近似的商标。
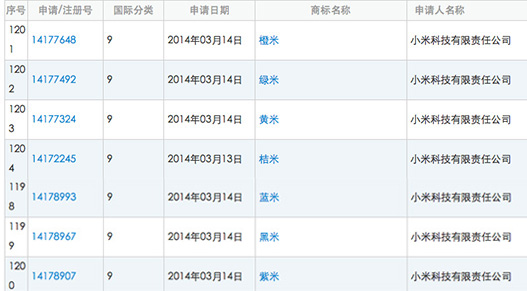
小米科技有限责任公司注册了“大米”、“蓝米”、“黑米”、“紫米”、“橙米”、“绿米”、“黄米”、“桔米”等商标。

小米公司注册的部分防御性商标。
阿里巴巴集团控股有限公司注册了“阿里爸爸;ALIPAPA”、“阿里妈妈”、“阿里妈妈;ALIMAMA.COM”、“阿里姐姐”、“阿里妹妹”、“阿里姑姑”、“阿里叔叔”、“阿里哥哥”、“阿里弟弟”等商标。

阿里巴巴集团注册的部分防御性商标。
和阿里巴巴类似,公众熟知的油制辣椒品牌“老干妈”所有者贵阳南明老干妈风味食品有限责任公司,还注册了“老干爹”、“老干娘”、“老干爸”、“干儿子”、“干儿女”、“老姨妈”等商标。

贵阳“老干妈”注册的部分防御性商标。
星巴克公司在防御性商标的注册上可谓脑洞大开,仅在商标国际分类“29”类之下,就注册了“索巴克”、“辛巴克”、“新巴克”、“兴巴克”、“星巴特”等几十个商标。

星巴克公司注册的部分防御性商标。
《中华人民共和国商标法》第二十二条规定,商标注册申请人可以通过一份申请就多个类别的商品申请注册同一商标。
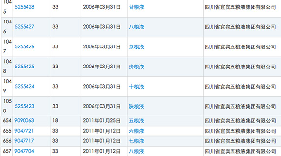
截至发稿,在国家工商总局商标局的商标综合查询系统里,可以查到四川省宜宾五粮液集团有限公司共计持有2064个商标,除了众人所知的“五粮液”,该公司还注册了“六粮液”、“七粮液”、“八粮液”等。在商标国际分类“33”类之下,该公司还注册了“五粮液酒圣”、“五粮液安乐泉”、“五粮液奋进塔”、“五粮液诚信碑”、“五粮液芝麻开花节节高”、“五粮液参天大树”等商标。此外,该公司还注册了以各省简称为前缀的“五粮液”变种,比如“甘粮液”、“京粮液”、“贵粮液”、“陕粮液”等。

宜宾五粮液集团注册的部分防御性商标。
《商标审查标准》对商标相同、近似的审查作了详细规定,比如,“中文商标由三个或者三个以上汉字构成,仅个别汉字不同,整体无含义或者含义无明显区别,易使相关公众对商品或者服务的来源产生混淆的,判定为近似商标。”前述星巴克公司注册大量“山寨商标”,应属此种情况。
专家:注册“山寨商标”短期内是企业的现实选择
企业大量注册“山寨商标”也有弊端,它可能造成商标资源的浪费、增加企业负担。企业注册的商标如果不去使用,就会形成俗称的“僵尸商标”。
赵占领告诉澎湃新闻,企业注册、维护商标的成本并不低,商标到期了还需要缴费续展。
赵占领接着表示,短期内,注册“山寨商标”对大企业而言是一种现实选择,尽管可能会增加一些成本,但这些大企业需要更全面地去保护商标,这是企业的商标?;ふ铰缘囊恢痔逑?。
知名企业在“山寨商标”上遭遇的麻烦不胜枚举。
贵阳“老干妈”多次开打商标战。因贵阳“陶华碧老干妈”、湖南“刘湘球老干妈”的商标几乎同时注册,包装也十分接近,双方因此展开5年的商标争夺战。2001年,北京高院做出判决,贵阳“老干妈”胜诉,湖南“老干妈”停止在风味豆豉产品上使用“老干妈”商品名称,并停止使用与贵阳“老干妈”风味豆豉瓶贴近似的瓶贴,赔偿贵阳“老干妈”经济损失40万元。
2002年,贵阳“老干妈”与贵州“老干爹”之间发生商标纠纷。据《法制周末》报道,在一份递交给贵州省政府的紧急报告中称:“老干爹”借助“老干妈”之名在市场上大肆销售。在各地市场及超市中,“老干爹”有意与“老干妈”摆放一处销售,甚至制造“亲戚关系”,其目的在于混淆品牌,误导消费者。
麦当劳公司在商标?;ど峡晌斤蓬亟稀R蛉衔夜ど绦姓芾碜芫稚瘫昶郎笪被幔ㄒ韵录虺啤吧唐牢保┩ü呐溆泻斓谆谱值摹癢”标志以及“万德福onderful”商标侵犯了自己的商标权,麦当劳公司曾将商评委告上法庭。2003年1月,麦当劳公司向国家工商行政管理总局商标局提交了商标异议书,以W商标与麦当劳的“金色拱门图形”(M商标)系列商标构成近似商标,极易导致消费者误认和混淆,要求国家工商行政管理总局商标局撤销W商标。在商标异议被驳回后,麦当劳公司又向商评委提出了复议。
腾讯也在商标上“吃过亏”。2014年,北京市高级人民法院就腾讯诉商评委一案作出终审判决。法院支持商评委此前做出的裁定,判令腾讯撤销汽车等商品的“QQ”注册商标。法院认为汽车商品和通讯服务差距较大,二者不构成同一种或者类似商品或服务。即便是防御性商标,也应当对奇瑞公司享有的在先权利进行避让。
赵占领认为,企业间“山寨商标”争端不断,主要是商评委在商标审查过程中,在近似商标的判断上具有很强的主观性。
“从严从快审理大规模恶意抢注商标案件”
有的“山寨商标”是企业的防御性商标,有的“山寨商标”属于恶意抢注的商标。
国家工商总局对恶意抢注商标的行为已有诸多规定和表态。
《中华人民共和国商标法》第三十二条规定:申请商标注册不得损害他人现有的在先权利,也不得以不正当手段抢先注册他人已经使用并有一定影响的商标。
2017年5月22日,国家工商总局发布《工商总局关于深入实施商标品牌战略推进中国品牌建设的意见》称,以诚实信用为原则,完善确权机制,在审查、异议、评审等环节加大驰名商标的?;ちΧ?。从严从快审理大规模恶意抢注商标案件,有效制止恶意抢注行为。探索完善商标与字号、域名等权利冲突的解决机制。
娃哈哈集团董事长宗庆后曾几度在“两会”上提出修改商标法的议案,他认为,应立法禁止现有的商标被其他类别的企业注册。
2017年3月10日,国家工商总局局长张茅在“两会”上表示,有一些抢注商标它本身没有产品,却注册一系列商标,对市场秩序是一个扰乱。它以盈利为目的,我们对这种恶意注册的行为,在审查时发现后,不予注册。已经注册的,宣告无效。张茅举了特斯拉的例子,他说特斯拉刚进入中国市场,它的商标就被抢注了,后来经过各种程序基本上解决了?!?br/>赵占领认为,在国家商标局对商标审查越来越严格,“山寨商标”注册越来越困难的情况下,大企业可能会减少防御性商标的注册,更多地把商标保护的重点放到其他企业已注册的相同或相似商标上?!耙坏┏鱿侄褚馇雷?,企业即可通过法律程序,比如提出异议。对于已经恶意注册的商标,可以提出申请撤销?!?/p>
1999年-2001年:
德州供销学校99级计算机系 【德州财贸经济学校,现合并为 德州职业技术学院】2001年-2006年:
这段时间先后从事过计算机老师、CAD制图预算、电脑售后维修服务等多种工作。2006年-2010年:
自学网页制作技术,2006年9月任职于德州安然资讯互联网事业部,从事网站制作SEO优化推广。2010年10月:创办 恺策网优,于2012年注册营业执照
2014年11月:创办 易搜网络,实现网络品牌多元发展!